電動汽車電池作為電動汽車的動力來源,電池性能一直是限制電動汽車大規模應用的重要因素之一,因此選擇一種能夠快速充電且不對電池壽命造成損害的方法對電動汽車的推廣具有重要作用。
恒流充電法是在充電過程中保持充電電流大小不變,充電曲線如圖1所示。為了保證充電電流的不變,需隨時調整充電器的輸出電壓或與蓄電池串聯的電阻大小。此法結構簡單,便于操作,易于控制,但在整個充電過程中,如果選擇的充電電流較大,則容易出現過充現象,對電池的極板沖擊非常大,會導致電池的損壞,縮短電池的壽命;如果選擇的充電電流較小,則會延長電池的充電時間。

圖1 恒流充電法充電曲線
恒流充電法充電效率較低,一般不會超過65%,因此除了根據需要對蓄電池進行小電流激活充電外,已很少使用此方法。
恒壓充電法采用恒定不變的電壓值給蓄電池充電,其充電曲線如圖2所示。在充電初期,電池的電壓較低,充電電流較大,容易對電池的極板造成沖擊,使極板彎曲變形、活性物質大量脫落及蓄電池溫度迅速升高而影響電池壽命。隨著充電的持續進行,在充電中后期,電池的電壓升高,充電電流會逐漸減小,會導致充電時間增加。

圖2 恒壓充電法充電曲線
恒壓充電法在充電過程中無需調整電流大小,電池析氣少,充電效率可高達80%。缺點是如果選擇的充電電壓過高,則會使充電初期的充電電流過大,容易損壞電池;如果選擇的充電電壓過低,則會使蓄電池充電不足,降低蓄電池的容量,減少使用壽命。
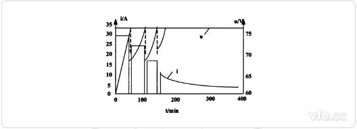
階段式充電法一般分為二階段充電法和三階段充電法。二階段充電法在充電初期先采用恒流充電,當電池電壓達到預定值時,再改為恒壓充電,直至電池充滿,其充電曲線如圖3所示。三階段充電法則是在充電初期和充電后期采用恒流充電,中間采用恒壓充電。

圖3 二階段充電法充電曲線
采用階段式充電法,結構簡單便于操作,基本能滿足電池的充電要求,且在充電時間和充電效率上都有所提高,但是它不能避免恒流充電法和恒壓充電法各自的缺陷,不能達到真正高速、高效率的快充要求。
脈沖充電法采用脈沖形式的電流對電池進行充電,通過調整脈沖幅值和脈沖占空比來控制電池的充入電量和間歇時間,其充電曲線如圖4所示。首先以一個高幅值大電流恒流充電一段時間,使蓄電池的容量在短時間內迅速上升,然后短暫的停止充電,其目的是消除電池的極化現象,再接著不斷重復前面的操作,直至電池充滿電。

圖4 脈沖充電法充電曲線
采用脈沖充電法能夠有效的去除極化,減輕蓄電池的內壓,減少蓄電池的析氣量,提高蓄電池的充電速率。但它的能量轉換效率低,出氣率高容易使活性物質脫落,從而影響電池的使用壽命。
反射式充電法是在脈沖充電的基礎上加以改進而來的,其充電曲線如圖5所示。首先以一個高幅值大電流恒流充電一段時間,使蓄電池的容量在短時間內迅速上升,接著轉入負脈沖,使蓄電池瞬間放電,然后短暫的停止充電,這樣循環往復操作。

圖5 反射式充電法充電曲線
采用反射充電法,能夠進一步去除極化,減輕蓄電池的內壓,減少蓄電池的析氣量,提高蓄電池的充電速率。
間歇變電流-恒壓充電法充電曲線如圖6所示,在充電初期,將恒流充電改為變電流間歇充電,每當電池電壓達到充電電壓上限時就停止充電,這樣能提高電池的充電量;在充電后期,充電電流已經很小,此時改用恒壓充電,直至電池完全充滿。

圖6 間歇變電流-恒壓充電法充電曲線
間歇變電壓-恒壓充電充電在充電初期將間歇變電流改為間歇變電壓,其充電曲線如圖7所示。在每個恒壓充電階段,充電電流會自然按照指數規律下降,這更加符合電池的最佳充電接受曲線。

圖7 間歇變電壓-恒壓充電法
下一篇:無功補償技術簡介