接觸器
- 瀏覽次數:21502次
- 發布時間:2015/1/9 8:47:26
- 作者:銀河電氣
根據控制線圈的電壓不同,可分為:
1、直流線圈接觸器
2、交流線圈接觸器。
按操作機構分為:
1、電磁式接觸器
2、液壓式接觸器
3、氣動式接觸器
按動作方式分為:
1、直動式接觸器
2、轉動式接觸器
根據接觸器觸點特性分為:
1、空氣接觸器
2、真空接觸器
3、無弧接觸器

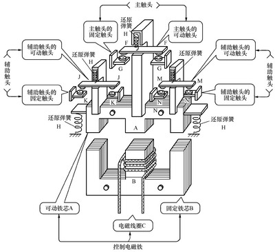
圖示:接觸器基本結構原理圖
交流接觸器由以下四部分組成:
(1)電磁機構:電磁機構由線圈、動鐵心(銜鐵)和靜鐵心組成,其作用是將電磁能轉換成機械能,產生電磁吸力帶動觸點動作。
(2)觸點系統:包括主觸點和輔助觸點。主觸點用于通斷主電路,通常為三對常開觸點。輔助觸點用于控制電路,起電氣聯鎖作用,故又稱聯鎖觸點,一般常開、常閉各兩對。
(3)滅弧裝置:容量在10A以上的接觸器都有滅弧裝置,對于小容量的接觸器,常采用雙斷口觸點滅弧、電動力滅弧、相間弧板隔弧及陶土滅弧罩滅弧。對于大容量的接觸器,采用縱縫滅弧罩及柵片滅弧。
(4)其他部件:包括反作用彈簧、緩沖彈簧、觸點壓力彈簧、傳動機構及外殼等。
接觸器的工作原理是:當接觸器線圈通電后,線圈電流會產生磁場,接觸器產生的磁場使靜鐵心產生電磁吸力吸引動鐵心,并帶動交流接觸器點動作,常閉觸點斷開,常開觸點閉合,兩者是聯動的。當線圈斷電時,電磁吸力消失,銜鐵在釋放彈簧的作用下釋放,使觸點復原,常開觸點斷開,常閉觸點閉合。直流接觸器的工作原理跟溫度開關的原理有點相似。
接觸器的圖形符號如下圖所示,文字符號為KM。

圖示:接觸器圖形符號
a)線圈 b)觸點 c)輔助觸點

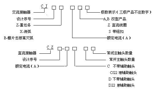
圖示:常見接觸器命名表示
例如:
CJ10Z-40/3為交流接觸器,設計序號10,重任務型,額定電流40A,主觸點為3極。
CJ12T-250/3為改型后的交流接觸器,設計序號12,額定電流250A,3個主觸點。
我國生產的交流接觸器常用的有CJ10,CJ12,CJX1,CJ20等系列及其派生系列產品,CJ0系列及其改型產品已逐步被CJ20、CJX系列產品取代。上述系列產品一般具有三對常開主觸點,常開、常閉輔助觸點各兩對。直流接觸器常用的有CZ0系列,分單極和雙極兩大類,常開、常閉輔助觸點各不超過兩對。
(1)額定電壓:指主觸點額定工作電壓,應等于負載的額定電壓。一只接觸器常規定幾個額定電壓,同時列出相應的額定電流或控制功率。通常,最大工作電壓即為額定電壓。常用的額定電壓值為220V、380V、660V等。
(2)額定電流:接觸器觸點在額定工作條件下的電流值。380V三相電動機控制電路中,額定工作電流可近似等于控制功率的兩倍。常用額定電流等級為5A、10A、20A、40A、60A、100A、150A、250A、400A、600A。
(3)通斷能力:可分為最大接通電流和最大分斷電流。最大接通電流是指觸點閉合時不會造成觸點熔焊時的最大電流值;最大分斷電流是指觸點斷開時能可靠滅弧的最大電流。一般通斷能力是額定電流的5~10倍。當然,這一數值與開斷電路的電壓等級有關,電壓越高,通斷能力越小。
(4)動作值:可分為吸合電壓和釋放電壓。吸合電壓是指接觸器吸合前,緩慢增加吸合線圈兩端的電壓,接觸器可以吸合時的最小電壓。釋放電壓是指接觸器吸合后,緩慢降低吸合線圈的電壓,接觸器釋放時的最大電壓。一般規定,吸合電壓不低于線圈額定電壓的85%,釋放電壓不高于線圈額定電壓的70%
(5)吸引線圈額定電壓:接觸器正常工作時,吸引線圈上所加的電壓值。一般該電壓數值以及線圈的匝數、線徑等數據均標于線包上,而不是標于接觸器外殼銘牌上,使用時應加以注意。
(6)操作頻率:接觸器在吸合瞬間,吸引線圈需消耗比額定電流大5~7倍的電流,如果操作頻率過高,則會使線圈嚴重發熱,直接影響接觸器的正常使用。為此,規定了接觸器的允許操作頻率,一般為每小時允許操作次數的最大值。
(7)壽命:包括電壽命和機械壽命。目前接觸器的機械壽命已達一千萬次以上,電氣壽命約是機械壽命的5%~20%。
交流接觸器的選擇參數內容包括:額定電壓;額定電流;線圈的額定電壓;操作頻率;輔助觸頭的工作電流。
1、額定電壓:銘牌額定電壓是指主觸點上的額定電壓,通常用的電壓等級為
直流接觸器:220V,440V,660V
交流接觸器:220V,380V,500V
如某負載是380V的三相感應電動機,則應選用380V的交流接觸器
2、額定電流:銘牌額定電流是指主觸點的額定電流.通常用的電流等級為
直流接觸器:25,40,60,100,150,250,400,600A
交流接觸器:5,10,20,40,60,100,150,250,400,600
上述電流是指接觸器安裝在敞開式控制屏上,觸點工作不超過額定溫升,負載為間斷—長期工作制時的電流值。若超過8小時,必須空載開閉三次以上,以消除表面氧化膜。如果上述條件改變,就要做相應修正起電流值,具體如下: 當接觸器安裝在箱柜內,由于冷卻條件差,電流要降低10~20%使用,當接觸器工作于長期工作制,而且通電持續率不超過40%;敞開安裝,電流允許提高10~25%;箱柜安裝,允許提高5~10%。
3、線圈的額定電壓:通常的電壓等級為
直流線圈:24,48,220,440V
交流線圈:36,127,220,380V
(選擇時一般交流對交流,直流對直流,但交流負載頻繁動作時可采用直流吸引線圈的接觸器;直流接觸器斷開時產生的過電壓高達10~20倍,故不宜采用高電壓等級,電壓太低,接通線圈用的繼電器或接觸器的聯鎖觸點不可靠)
4、操作頻率:指每小時接通的次數,交流接觸器最高為600次/h,直流接觸器可達1200次/h。
5、輔助觸頭的工作電流:輔助觸頭(或稱輔助開關)的微動開關,它有兩個電流參數,一是約定發熱電流,一是工作電流.工作電流有多種,而約定發熱電源只有一個。
補充參考內容:
(1)持續運行的設備。接觸器按67-75%算。即100A的交流接觸器,只能控制最大額定電流是67-75A以下的設備。
(2)間斷運行的設備。接觸器按80%算。即100A的交流接觸器,只能控制最大額定電流是80A以下的設備。
(3)反復短時工作的設備。接觸器按116-120%算。即100A的交流接觸器,只能控制最大額定電流是116-120A以下的設備。
接觸器(contanctor),可作為主回路電氣元件,在一次系統中執行主回路的頻繁開斷與關合,并帶有可用于二次回路的輔助觸點。也可作為二次回路中的控制元件,實現較大容量、頻繁操作的控制功能需要。
繼電器(relay),僅作為二次回路電氣元件,作為控制、保護、信號等功能使用,根據具體功能可分為:電壓繼電器、電流繼電器、時間繼電器、中間繼電器、信號繼電器等等,作為功能擴展需要。