鄰近效應原理及對電纜載流量的影響
- 瀏覽次數:31584次
- 發布時間:2015/5/26 8:56:44
- 作者:cls_yinhe
鄰近效應是指互相接近的傳輸導線中,交流電流相互向相鄰導體接近而非均勻于導體中傳輸。頻率和磁導率愈高,電阻系數愈小,這種現象愈顯著。
一鄰近效應簡介
雙線傳輸線的兩根導線分別通過方向相反的交流電流時,各自產生的交變磁場相互在相鄰的另一根導線上產生渦流。這種由相鄰導線上的電流在本導線激發的渦流與本導線原有的工作電流疊加,使導體中的實際電流分布向截面中接近相鄰導線的一側(內側)集中。鄰近效應與趨膚效應在傳輸線中往往是孿生現象,其結果是使導體的有效電阻增加,工作衰減增大。
圖2-1 二線傳輸線的電流分布
在變壓器和電感器中,鄰近效應對載流量造成的影響通常比集膚效應要大得多。
二臨近效應定量分析
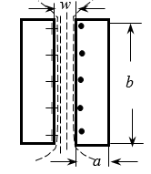
兩根流過相反電流導線,在兩導體相對之間,磁場方向相同而加強;兩導線之外側,磁場相反而抵銷,磁場很弱,或為零。在導體內部,由兩導體外側向內逐漸加強,到達導體的內表面時磁場最強。現在來考察兩根相鄰的相同矩形截面(a×b)導體,兩根導線流過相反的電流iA和iB。導線的截面 如圖2-2所示,“·”表示流出紙面,“+”表示流入紙面。
圖2-2所示兩根導線厚度a大于穿透深度Δ,流過相反的且相等的高頻電流iA和iB時,導體A流過的電流iA產生的磁場фA穿過導體B,與集膚效應相似,在導體B中產生渦流iAB。
圖2-2 兩反向電流導線之間磁場分布
圖2-3兩反向電流導體電流分布
在靠近A的一邊渦流與iB的方向一致,相互疊加;而在遠離A的一邊,渦流與iB方向相而抵銷。同理導線A中的電流受到導線B中電流iB產生的磁場作用,在靠近導線B的一邊流通。使得導體中電流擠在兩導體接近的一邊。這就是鄰近效應。
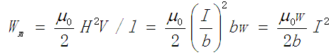
如果兩導體相距w很近(圖2-3,鄰近效應使得電流在相鄰內側表面流通,磁場集中在兩導線間,導線的外側,既沒有電流,也沒有磁場-合成磁場為零,磁場中不存儲能量,能量主要存儲在導線之間。如果寬度b>>w,單位長度上的電感為
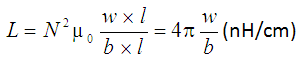
式中N=1-匝數;l-導電帶料的長度(cm);b-帶料的寬度(cm);w-導線間距離(cm)。若忽略外磁場的能量,單位長度兩導線間存儲的能量為
式中I-為導電帶料流過的電流;H-導線之間的磁場強度。可見,如果導線寬度越窄(b變小),存儲能量越大。根據上式比較圖2-4幾種導線的排列可以看到,由于鄰近效應,電流集中在導線之間穿透深度的邊緣上,b越小,表面間的磁場強度越強。如兩導線距離w相同、兩導線電流數值相等,圖(a)導線寬度比圖(c)寬,根據式(6.5)可見,導線間存儲的能量與導線的寬度成反比。所以圖(c)比圖(a)存儲更多的能量,導線電感也更大。鄰近效應使圖(c)導線有效截面積減少最為嚴重,損耗最大。為減少分布電感,圖(a)最好,圖(b)次之,圖(c)最差。因此,在布置印刷電路板導線時,輸出導線與回流導線上下層最好。平行靠近放置在同一層最差,即使導線很寬,實際上僅在導線靠近的邊緣有高頻電流流通,損耗很大,而且層的厚度不應當超過穿透深度。
圖2-4 矩形導線不同放置時的鄰近效應
三鄰近效應案例
01鄰近效應對多層線圈影響
圖2-5是一個初級(p)和次級(s)線圈都是雙層的變壓器。導線的厚度大于穿透深度Δ。由于鄰近效應,電流僅集中在初級與次級靠近的一邊導線中Δ寬度流通。在遠離的一邊導體中沒有磁場,也應當沒有電流。事實是怎樣呢?
首先作窗口空間磁場分布圖,從最外邊作為x=0做起。因鄰近效應,電流集中在外層導線的最右邊--里邊,到達x=b-Δ時,磁場在Δ范圍內由0上升到H1=N1I1/2l,然后在層間隙δ中保持這個數值。但x>b+δ即到達第二層時,第二層的外邊,如果導體中沒有電流,第二層中和δ中一樣將有交變磁場H1,此交變磁場在第二層中產生渦流,使第二層外邊邊緣Δ深度產生與第一層里邊大小相等方向相反的電流,才能保證第二層中心磁場為零,電流也為零。即第二層的外邊流過與第一層的里邊大小相同,方向相反的電流。
在第二層里邊x=2b+δ-Δ至2b+δ,初級安匝應全部加在窗口高度上。在Δ深度內除了和第一層相同的電流外,還要流過第二層外邊相等而相反的電流,即兩倍第一層電流。這樣在第二層中流過兩倍第一層同向的電流,還流過與第一層相等且反向的電流,凈電流仍然與第一層相同。如Δ深度電阻相同,該層交流損耗為(1+22)倍單層損耗(I2r),比外層大5倍。次級情況相仿。磁場分布圖如圖2-5(b)所示,圖中虛線是低頻磁場分布圖。從圖中可以看到,導線內部不存儲能量,高頻時漏感減少了,但損耗增加太多,用增加導線厚度減少高頻時漏感是不值得的。
圖2-5 高頻多層線圈磁場圖
如果每段線圈是n層,初級第n層內表面最大電流是低頻電流的n倍,其外表面反向電流是低頻電流的n-1倍。如果電阻相同,n層的損耗是它的第一層損耗((n-1)2+n2)倍。所示鄰近效應比集膚效應引起更嚴重的交流損耗。
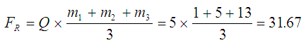
例:一變壓器結構如圖2-5所示。初級3層,變壓器工作頻率為200kHz,導線直徑為0.84mm。線圈工作溫度為100℃。求線圈電阻增加多少倍?
解:
1.線圈工作溫度為100℃,導線的穿透深度為
2.因鄰近效應電流集中導線的一邊,有效面積減少倍數為
3.由于鄰近效應,邊緣電流增加,各層電阻增加的倍數為((n-1)2+n2)
第一層是m1=1倍, 第二層是m2=1+22=5倍,第三層是m3=22+32=13倍。整個線圈增加的電阻是直流電阻的倍數FR=Rac/Rdc為

倍
可見,在多層線圈中,鄰近效應比集膚效應更嚴重。
如果將導線直徑減少到接近穿透深度Δ,在每根導線的內外表面的+和·開始合并,部分抵銷了,場部分穿透到導體內部。當導線直徑遠遠小于穿透深度Δ,磁場完全滲透到導體內,導體內的相反電流完全合并而抵銷了,電流分布于每根導線整個截面。
02Dowell法計算正弦波交流電阻
當導線尺寸(層的厚度)小于穿透深度時,I2R的計算是很復雜的。道威爾(Dowell)給出了正弦波交流電阻的計算方法,如圖2-6所示。圖中縱坐標FR=Rac/Rdc,橫坐標Q為層厚度或導線厚度與穿透深度Δ的比值。對于銅帶和銅箔線圈,層的厚度就是銅帶的厚度。當線圈交錯分段時,參變量為每段線圈層數。
對于每層相互疊繞直徑為d的園導線,有效層厚度為導線直徑的0.83倍。如果園導線層間有間隙,有效層厚度為0.83d,d為導線直徑,s為導線中心距。圓導線Q也可以用以下公式計算:
式中h=0.83d,d-導線直徑;Δ-穿透深度;Fl=Nld/w-銅層系數;Nl-每層匝數;w-層的厚度。對于銅箔,Fl=1。
圖2-6 交流與直流電阻比和等效銅厚度、層數關系
在圖2-6的最右邊,是導體的厚度遠大于穿透深度Δ,FR很大。曲線是平行的。在最左邊,導體厚度遠小于Δ,FR接近1。在圖的中心,曲線隨著Q的減少向下彎曲。對于變壓器交流電流分量大,通常選擇FR=1.5最佳。FR加大,損耗變得很大。要是低于1.5,超過最小折返點,需要用更細的導線,充填系數減少。FR=1.5時, 1 層Q大約1.6,10層大約為0.4。圖2-6在選擇導線直徑時是非常有用的。如果導線要求截面積較大,應當采用多股線或銅箔。即使用較薄銅帶導致高的直流電阻,但交流電阻可大大減少還是有利的。在直流電感中,交流紋波相對直流分量很小(電感電流連續)時,可選取較大FR。
如果將初級和次級繞組分段交錯繞制,圖2-7畫出幾種安排的低頻磁場分布圖。圖(a)在初級次級結合處磁場強度最高。線圈是兩層初級和兩層次級,如果Q=4,由圖2-6查得FR=13。
圖(b)交錯排列,最大磁場強度只有圖(a)的一半。每段1層,仍然Q=4,再由圖2-6查得FR=4。交流損耗電阻大大下降。圖(c)采用初級1/3-次級2/3-初級2/3-次級1/3的安排,從磁場分布圖可以看到最大磁場強度比圖(b)更低。因此,存儲能量更少。更多的分段減少磁場能量,但會帶來其它問題。
雖然圖2-6曲線非常有用,但應記住,圖2-6是正弦波電流下得到的。對于包含豐富諧波的開關電源應用,實際損耗大于計算值。如果精確計算,必須將電流波形分解成富里葉級數,然后計算電流每次諧波損耗,因為諧波頻率不同,穿透深度不同,損耗也不同。再將各次諧波損耗相加獲得總損耗。工程上估算時將基波頻率按圖2-6的結果再加50%。
圖2-7 變壓器線圈安排